Mercedes-Benz opatentował siedzenia z masażem głowy

Mercedes-Benz opatentował siedzenia z masażem głowy
Fotele Mercedes-Benz S-Class (2026). Źródło: Mercedes-Benz

Mercedes-Benz może wprowadzić funkcję masażu w samochodzie na nowy poziom. Na to wskazuje niedawne zgłoszenie patentowe złożone w Niemieckim Urzędzie Patentowym i Znaków Towarowych, zauważone przez czasopismo CarBuzz.

Co wiadomo

Pomysł zagłówków z funkcją masażu na pierwszy rzut oka może wydawać się niezwykły, jednak firma uważa go za logiczny rozwój już istniejących technologii. W opisie patentu zaznacza się, że silny stres u kierowcy lub pasażera może powodować napięcie mięśni, zmęczenie i bóle głowy, co bezpośrednio pogarsza wrażenia z podróży.

System ma skomplikowany schemat urządzenia i działania. Specjalne czujniki mają określać wzrost człowieka i położenie jego głowy, po czym mechanizm automatycznie się dostosowuje dla optymalnego oddziaływania.

1
2
3

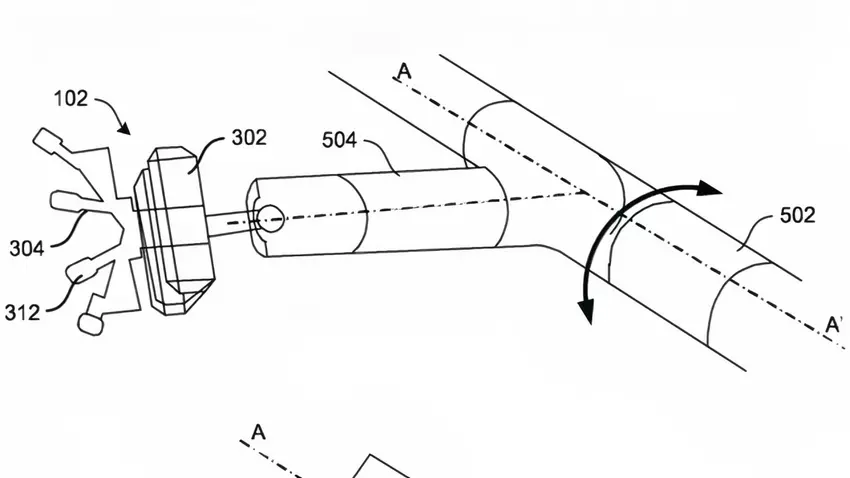
Zgodnie z patentem, w zagłówku proponuje się umieszczenie centralnego modułu, połączonego z kilkoma ruchomymi elementami na regulowanych prowadnicach. Te elementy będą mogły się poruszać, obracać i wibrować, a cała konstrukcja — obracać się, obejmując różne strefy głowy. System będzie napędzany silnikiem elektrycznym i może być zainstalowany bezpośrednio w zagłówku lub wykorzystywany w już istniejącym mechanizmie masującym oparcia siedzenia.

Sterowanie przewiduje się na kilka sposobów. Aktywować masaż będzie można za pomocą ekranu systemu multimedialnego lub za pomocą smartfona, po czym użytkownik będzie mógł dokładnie dostosować strefy i intensywność oddziaływania.

Jak inni producenci samochodów, Mercedes-Benz regularnie opatentowuje idee, które ostatecznie mogą nie trafić do produkcji seryjnej. Niemniej jednak, nawet jeśli taki system wydaje się kontrowersyjny, to potencjalnie może stać się przewagą marketingową na tle konkurencji.

Źródło: CarBuzz

var _paq = window._paq = window._paq || []; _paq.push(['trackPageView']); _paq.push(['enableLinkTracking']); (function() { var u='//mm.magnet.kiev.ua/'; _paq.push(['setTrackerUrl', u+'matomo.php']); _paq.push(['setSiteId', '2']); var d=document, g=d.createElement('script'), s=d.getElementsByTagName('script')[0]; g.async=true; g.src=u+'matomo.js'; s.parentNode.insertBefore(g,s); })();