BMW opatentowało śruby w kształcie swojego emblematu

BMW opatentowało śruby w kształcie swojego emblematu
Obraz stworzony przy użyciu AI na podstawie rysunku patentowego. Źródło: AI

BMW złożyło w WIPO (Światowa Organizacja Własności Intelektualnej) wniosek patentowy na śruby z główkami wykonanymi na wzór logotypu firmy.

Co wiadomo

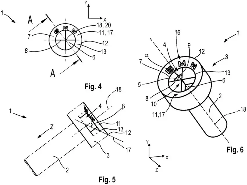
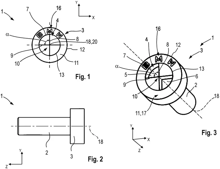
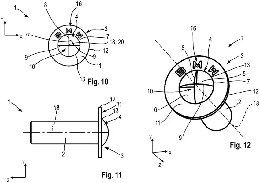
Patent opisuje cztery rodzaje główek, w tym płaskie i zaokrąglone. Każda z nich odzwierciedla formę emblematu BMW, podzielonego na cztery sektory. Dwa sektory są wklęsłe, a pozostałe płaskie lub wystające.

1
2
3
4

Na pierwszy rzut oka firmowe główki śrub wyglądają interesująco, zwłaszcza jeśli używa się ich na widocznych częściach samochodów. Ale dla mechaników czy właścicieli ze standardowymi zestawami narzędzi są znacznie mniej atrakcyjne. Niezwykłe kształty śrub oznaczają, że zwykłe narzędzia nie wystarczą, a każdemu, kto chce uzyskać dostęp do kluczowych zespołów, może być potrzebne specjalne wyposażenie BMW.

Nietrudno sobie wyobrazić bóle głowy, jakie może to spowodować w warsztatach. Standardowe zestawy nie wystarczą, i jeśli nie jesteś dealerem BMW ani zapalonym miłośnikiem, najprawdopodobniej odkryjesz, że brakuje ci jednej śrubokrętu do pełnej naprawy.

Nadal pozostaje pytanie, czy te śruby wejdą do produkcji. Producenci samochodów składają wiele patentów, które nigdy nie wychodzą poza deską kreślarską. Te konkretne rysunki zostały złożone 7 czerwca 2024 roku i ujawnione 11 grudnia 2025 roku. Ale wciąż pozostają tylko rysunkami.

Źródło: Autoblog

var _paq = window._paq = window._paq || []; _paq.push(['trackPageView']); _paq.push(['enableLinkTracking']); (function() { var u='//mm.magnet.kiev.ua/'; _paq.push(['setTrackerUrl', u+'matomo.php']); _paq.push(['setSiteId', '2']); var d=document, g=d.createElement('script'), s=d.getElementsByTagName('script')[0]; g.async=true; g.src=u+'matomo.js'; s.parentNode.insertBefore(g,s); })();