Ford opatentował makietę ręcznej dźwigni zmiany biegów dla samochodów elektrycznych

Ford opatentował makietę ręcznej dźwigni zmiany biegów dla samochodów elektrycznych
Dźwignia manualnej skrzyni biegów w Fordzie Focus (2011). Źródło: Ford

Samochody elektryczne przyspieszają natychmiast i nie wymagają zmiany biegów. Ford uznał jednak, że to zbyt nudne i opatentował dźwignię manualnej skrzyni biegów dla pojazdów elektrycznych. Nie zmienia ona rzeczywistych przełożeń, ale tworzy iluzję zmiany biegów dla entuzjastów oldschoolowej jazdy.

Co wiadomo

Patent, zatytułowany"Shifter Assembly For Electric Vehicle", opublikowany 20 marca, opisuje klasyczną dźwignię skrzyni biegów, którą mocuje się do podłogi jak w starym Fordzie Mustangu. Ale zamiast łączyć się z manualną skrzynią biegów, po prostu przesyła sygnały do elektronicznego kontrolera, który zmienia moment obrotowy silnika. Oznacza to, że kierowca przesuwa dźwignię, jakby zmieniał biegi, a elektronika symuluje przerwy w zasilaniu, aby stworzyć wrażenie ręcznej skrzyni biegów samochodu z silnikiem spalinowym.

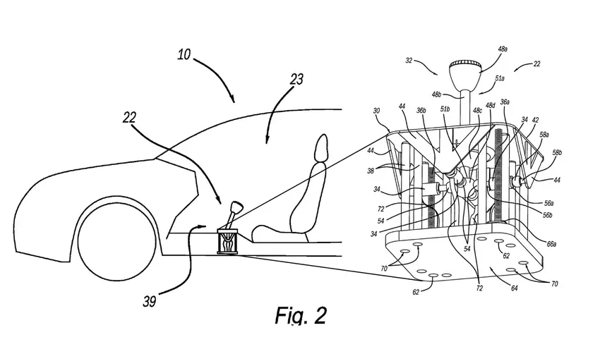
Schemat symulatora mechanicznej skrzyni biegów dla pojazdów elektrycznych z dokumentacji patentowej
Schemat symulatora mechanicznej skrzyni biegów dla samochodów elektrycznych z dokumentów patentowych. Ilustracja: Ford

Pomysł nie jest nowy: Hyundai zrealizował już podobny efekt w modelu Ioniq 5 N za pomocą łopatek, a Toyota testuje samochód elektryczny z symulatorem sprzęgła, a nawet możliwością zgaśnięcia. Ford poszedł jednak w drugą stronę - małe silniki są wbudowane w podstawę dźwigni zmiany biegów, które zwiększają opór podczas zmiany "biegów", zapewniając pełne doznania.

Na razie jest to tylko patent. Pierwotnie został złożony w 2023 roku, więc Ford myślał o tym od jakiegoś czasu. Nie wiadomo, czy pomysł ten trafi do samochodów produkcyjnych.

Źródło: InsideEVs

var _paq = window._paq = window._paq || []; _paq.push(['trackPageView']); _paq.push(['enableLinkTracking']); (function() { var u='//mm.magnet.kiev.ua/'; _paq.push(['setTrackerUrl', u+'matomo.php']); _paq.push(['setSiteId', '2']); var d=document, g=d.createElement('script'), s=d.getElementsByTagName('script')[0]; g.async=true; g.src=u+'matomo.js'; s.parentNode.insertBefore(g,s); })();