Sony opatentował okulary dla PlayStation VR z technologią śledzenia wzroku

Sony postanowiła zadbać o graczy, którzy grają w VR i noszą okulary.

Co wiadomo

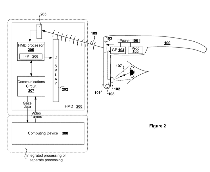
Patent zgłoszony w grudniu 2017 roku, ale opublikowano godopiero na początku kwietnia 2019 roku. Sony postanowiła uporać się z problemem wykorzystania zwykłych okularów z VR-zestawem z technologią śledzenia wzroku. Dodatkowe soczewki okularów  tworzą rozmycie, odbicia i inne interferencji dla  czujników, które uniemożliwiają prawidłową kalkulację.

Planują rozwiązać ten problem za pomocą okularów z wbudowanym trackerem. Zgodnie z ideą firmy Sony, śledzić widok  będzie nie VR-garnitura, a okulary z czujnikami. Urządzenie wykrywa, czy użytkownik ma ubrany kask, włączać niezbędne czujniki, a następnie przekazywać otrzymaną informacje do „kasku”. Pierwsza generacja  PlayStation VR nie otrzymał technologii śledzenia  wzroku, tak że, najprawdopodobniej, patent będzie przydatny już dla drugiej wersji zestawu VR Sony.

1
2
3

Należy pamiętać, że firma już rejestrowała pomysły dla następnych generacji chełmu VR. W styczniu 2018 Sony pokazała kontrolerzy dla VR-zestawu, i technologię śledzenia ruchu gamepadów, które planuje wybudować do wyświetlaczu „kasku”.

var _paq = window._paq = window._paq || []; _paq.push(['trackPageView']); _paq.push(['enableLinkTracking']); (function() { var u='//mm.magnet.kiev.ua/'; _paq.push(['setTrackerUrl', u+'matomo.php']); _paq.push(['setSiteId', '2']); var d=document, g=d.createElement('script'), s=d.getElementsByTagName('script')[0]; g.async=true; g.src=u+'matomo.js'; s.parentNode.insertBefore(g,s); })();