Apple patenty elastyczne baterie do przyszłych iPhone'ów

Apple patenty elastyczne baterie do przyszłych iPhone'ów

Amerykańskie Biuro Patentowe opublikowało kolejną paczkę aplikacji dla Apple. W większości mówią o bezprzewodowym ładowaniu AirPower i związanej z nim technologii. Oprócz jednego dokumentu opisującego elastyczne akumulatory.

Co wyskoczyło?

1
2
3
4

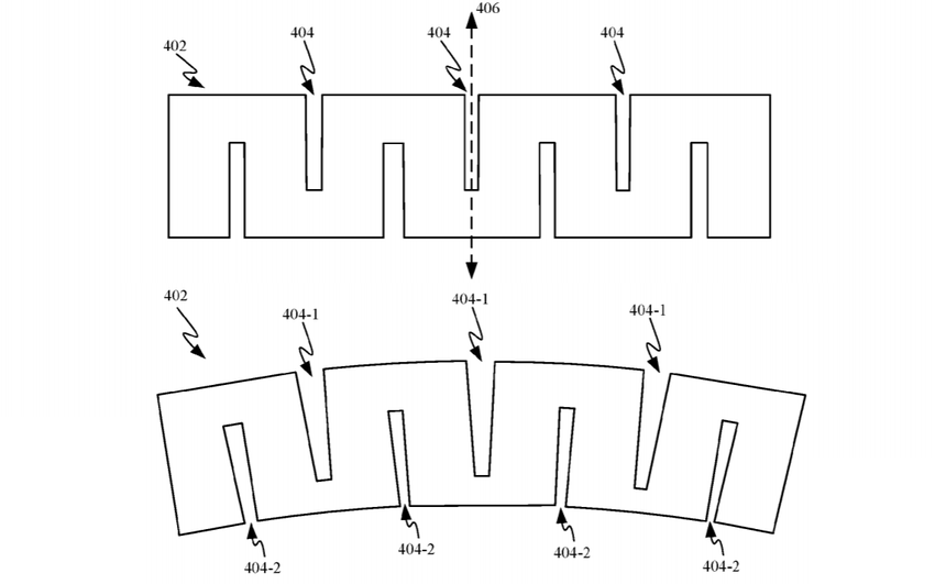
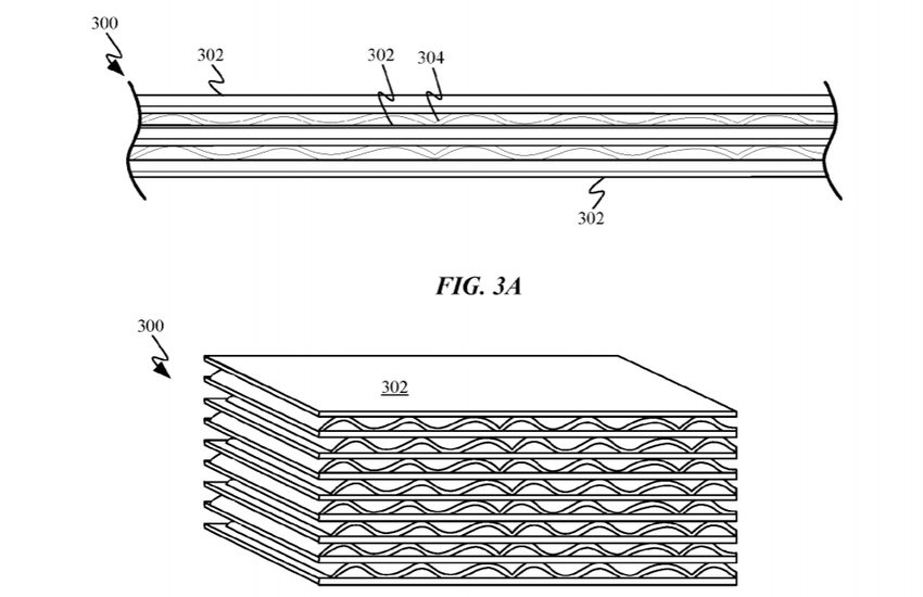
Aplikacja patentowa Apple określa wiele elastycznych opcji baterii. Stosunkowo prostym rozwiązaniem jest rozbicie baterii na sekcje cylindryczne, aby można ją było zgiąć w jednej płaszczyźnie. Inna wersja zakłada wykorzystanie skręcania komórek w strukturach wielowarstwowych. Dzięki warstwie powietrznej podczas gięcia bateria nie zostanie uszkodzona. A jeśli wykonasz wycięcia wzdłuż całej komórki, dwie najbliższe półki będą mogły się zginać w różnych kierunkach.

Dlaczego to wszystko?

Jeśli wierzysz w plotki, w 2020 roku Apple może wprowadzić składany iPhone, ale takie "klapsy" wyginają się tylko w jednym miejscu. Aby stworzyć w pełni elastyczne gadżety, konieczne jest, aby bateria i większość komponentów mogła wytrzymać wiele zakrętów. Ponadto elastyczne akumulatory pozwalają maksymalnie wypełnić przestrzeń wewnątrz obudowy smartfona, aby zapewnić dodatkową godzinę lub dwie pracy przy jednym naładowaniu.

Kolejne pytanie brzmi, czy Apple naprawdę pracuje nad nowymi elementami odżywiania, czy też w Cupertino postanowili naprawić pomysły na przyszłość bez żadnych globalnych planów.

Giętkie akumulatory są już produkowane przez firmę Panasonic, ale jest to małe rozwiązanie dla przenośnej elektroniki.

Źródło: USPTO

var _paq = window._paq = window._paq || []; _paq.push(['trackPageView']); _paq.push(['enableLinkTracking']); (function() { var u='//mm.magnet.kiev.ua/'; _paq.push(['setTrackerUrl', u+'matomo.php']); _paq.push(['setSiteId', '2']); var d=document, g=d.createElement('script'), s=d.getElementsByTagName('script')[0]; g.async=true; g.src=u+'matomo.js'; s.parentNode.insertBefore(g,s); })();