Niezbędny chcą ukryć pod kamerą wyświetlacza smartfona

Niezbędny chcą ukryć pod kamerą wyświetlacza smartfona
niezbędny-camera-under-display-1.jpg

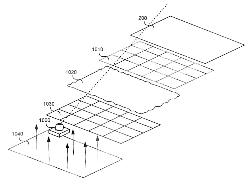
Ostatnio założyciel Niezbędny Andy Rubin opisany patent na komorze slajdów dla smartfonów, a nowy wariant startowy aplikacji opisany moduł fotograficzny objęcie wyświetlaczu.

Dlaczego to zrobić?

Oba wydarzenia podstawowym celem, aby zwiększyć powierzchnię użytkową wyświetlacza w „bezramowe” gadżetów nowej generacji. A jeśli wysuwana konstrukcja w stylu Vivo APEX może pęknąć w przypadku upuszczenia, komora poniżej ekranu nie jest zagrożone. Z drugiej strony, inżynierowie muszą jakoś zapewnić przejrzysty obszar nad czujnikiem do pikselach matrycy TFT (OLED) lub nie przeszkadzają w zdobyciu światło.

1
2

Patent opisuje różne sposoby rozwiązania tego problemu, ale do tej pory to nic więcej jak zbiór pomysłów niż faktycznie istniejącego rozwoju.

Co inni?

Meizu niedawno złożył podobny wniosek patentowy. Znawcy dodać, że po spadku w sezonie iPhone, Apple „grzywka” planuje pozbyć wyświetlaczu wyciętym w 2019 roku (mimo wszystkich producentów, którzy zaczęli bezmyślnie kopiować ten element w swoich urządzeniach).

Źródło: USPTO , Liliputing

var _paq = window._paq = window._paq || []; _paq.push(['trackPageView']); _paq.push(['enableLinkTracking']); (function() { var u='//mm.magnet.kiev.ua/'; _paq.push(['setTrackerUrl', u+'matomo.php']); _paq.push(['setSiteId', '2']); var d=document, g=d.createElement('script'), s=d.getElementsByTagName('script')[0]; g.async=true; g.src=u+'matomo.js'; s.parentNode.insertBefore(g,s); })();